Cхема котла NAVIEN ACE ATMO
Корпус и блок управления
.png)
Нажмите на название детали, чтобы посмотреть цену и остатки
| 1 | 30003960A | Расширительный бак |
| 2 | 20007661A | Кронштейн крепления покрытия |
| 3 | 30003117A | Трубка расширительного бака соединительная |
| 3-1 | 20007860A | Хомут обжимной |
| 4 | 20006665A | Предохранитель |
| 5 | 30003098A | Электрокабель в сборе с вилкой |
| 6 | 30000600A | Пульт управления |
| 7 | 30010973A | Блок управления (контроллер) |
| 8 | 30003022A | Жгут кабельный в сборе с коннектором |
| 18 | 30001990A | Кожух котла |
| 18 | 30001991A | Кожух котла |
| 18 | 30001992A | Кожух котла |
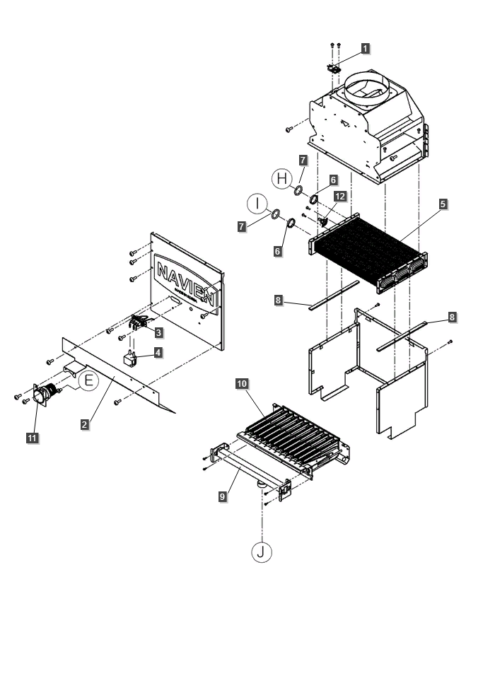
Камера сгорания
| 1 | 30002653A | Датчик контроля тяги |
| 2 | 20007660A | Кронштейн крепления |
| 3 | 30003875C | Электроды розжига и ионизации |
| 4 | 30002474C | Трансформатор розжига |
| 5 | 30004896A | Теплообменник основной |
| 5 | 30004894A | Теплообменник основной |
| 6 | 20021730B | Кольцо уплотнительное металлическое |
| 7 | 20006994A | Кольцо уплотнительное "O-RING" |
| 8 | 20006810B | Прокладка жаростойкая superwool |
| 9 | 30003398A | Коллектор с форсунками NG |
| 9 | 30003399A | Коллектор с форсунками NG |
| 10 | 30003393A | Горелка в сборе |
| 10 | 30006049A | Горелка в сборе |
| 11 | 30002309A | Манометр |
| 12 | 30002564A | Термостат биметаллический возвратный |
Газовая группа
| 1 | 20006929A | Кольцо уплотнительное "O-RING" |
| 2 | 30003400A | Трубка газовая соеденительная |
| 3 | 30002197A | Арматура газовая в сборе |
| 4 | 30003625B | Патрубок-адаптор соеденительный |
Гидроарматура и датчик протока системы ОВ
.png)
Нажмите на название детали, чтобы посмотреть цену и остатки
| 1 | 20007878A | Зажим-фиксатор "клипса" |
| 2 | 20007900B | Фитинг контура отопления угловой |
| 2-1 | 30013426A | Датчик температуры |
| 3 | 20007871B | Фитинг угловой контура отопления |
| 4 | 20007868A | Зажим-фиксатор "клипса" |
| 5 | 30003712B | Трубка ОВ - вход |
| 6 | 30003713B | Трубка ОВ - выход |
| 7 | 30000469A | Насос циркулярный с пробкой |
| 7-1 | 30013056A | Воздухоотводчик |
| 7-2 | 30003550C | Сливная пробка |
| 8 | 20006859A | Кольцо уплотнительное циркуляционного насоса |
| 9 | 30003551C | Пробка сливная |
Гидроарматура ОВ
.png)
Нажмите на название детали, чтобы посмотреть цену и остатки
| 1 | 20007858A | Зажим-фиксатор "клипса" |
| 2 | 20007867B | Патрубок контура ОВ проходной |
| 3 | 20007733B | Скоба-фиксатор |
| 4 | 20007850A | Патрубок-адаптор контура ОВ вход |
| 5 | 30002244A | Клапан автоматический предохранительный |
| 6 | 20006856A | Кольцо уплотнительное |
| 7 | 20007845B | Патрубок контура ОВ проходной |
| 8 | 20007847B | Патрубок контура ОВ проходной |
| 9 | 30003659C | Патрубок контура ГВС проходной |
| 10 | 30003672B | Патрубок контура ГВС проходной |
| 11 | 20007739A | Зажим-фиксатор "клипса" |
| 12 | 30013844A | Трехходовой клапан |
| 12-1 | 20007777A | Патрубок-адаптор контура ОВ выход |
| 12-2 | 20006856A | Кольцо уплотнительное |
| 13 | 20007877A | Скоба-фиксатор |
| 14 | 20006996A | Кольцо уплотнительное "O-RING" |
| 15 | 30002514B | Гидроузел с фильтром ОВ в сборе |
Схема гидроарматуры и теплообменника ГВС
.png)
Нажмите на название детали, чтобы посмотреть цену и остатки
| 1 | 30004995A | Теплообменник ГВС |
| 1 | 30004997A | Теплообменник ГВС |
| 2 | 30003673E | Патрубок-адаптор ГВС |
| 3 | 20006852A | Кольцо уплотнительное |
| 4 | 20007751A | Патрубок-адаптор контура ГВС |
| 5 | 30003628F | Фитинг угловой контура ГВС |
| 6 | 20007835A | Зажим-фиксатор "клипса" |
| 7 | 20007732B | Скоба-фиксатор S |
| 8 | 30003907B | Трубка подпитки |
| 9 | 20006963A | Кольцо уплотнительное "O-RING" |
| 10 | 30002725D | Гидроузел датчика протока ГВС |
.png)
.png)